Skip to content
1882

Tombe sainte et fondation de l’abbaye des moniales de Saint-André-le-Haut à Vienne dans le Dauphiné (France)

image of Tombe sainte et fondation de l’abbaye des moniales de Saint-André-le-Haut à Vienne dans le Dauphiné (France)
Preview this chapter:
Loading full text...

Full text loading...

/content/books/10.1484/M.HAMA-EB.5.144799
View: Figures

Figures

Image of Fig. 4.1.
Fig. 4.1. Localisation du site de l’abbaye de Saint-André-le-Haut dans la topographie de Vienne du au siècle (d’après F. Adjajd, R. Lauxerois et B. Helly,  , Paris, 2014).
Image of Fig. 4.2.
Fig. 4.2. Église Saint-André-le-Haut à Vienne, vue extérieure du nord/ouest (ph. J.‑P. Gobillot).
Image of Fig. 4.3.
Fig. 4.3. Église Saint-André-le-Haut à Vienne, fouille, vue zénithale (ph. Anne Flammin et Adrien Tourasse).
Image of Fig. 4.4.
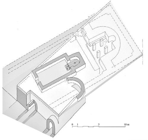
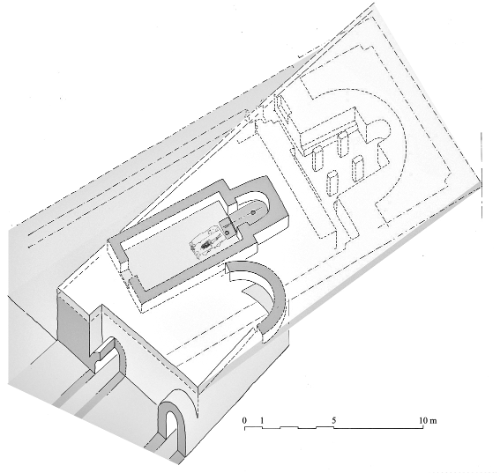
Fig. 4.4. Vienne, abbaye Saint-André-le-Haut, plan de l’oratoire et des sépultures carolingiennes et, dans le cartouche, localisation de l’oratoire dans l’église abbatiale avec le tracé du mur de soutènement au nord, l’aqueduc au sud et la crypte à l’est (relevé équipe de fouilles et DAO A. Flammin et A. Gaillard).
Image of Fig. 4.5.
Fig. 4.5. Oratoire en cours de fouille, vue vers le sud, (ph. équipe de fouilles VSAH).
Image of Fig. 4.6.
Fig. 4.6. Comparaison du plan de l'oratoire de Saint-André-le-Haut avec celui de la chapelle d'Asterius à Carthage en Tunisie et de l'église de Meinier en Suisse.
Image of Fig. 4.7.
Fig. 4.7. Restitution de l'oratoire - siècles, 3D Gérard Charpentier (CNRS, MOM, Lyon), d'après les travaux de l'équipe de fouille.
Image of Fig. 4.8.
Fig. 4.8. Vienne, abbaye Saint-André-le-Haut, localisation des aqueducs, des ruptures de pente et des murs de soutènement et de l'oratoire. D. Laisney (CNRS, MOM, Lyon).
Image of Fig. 4.9.
Fig. 4.9. Vienne, abbaye Saint-André-le-Haut, la sépulture 316 dans l'oratoire (ph. Anne Flammin).
Image of Fig. 4.10
Fig. 4.10 Restitution de l'oratoire à l'époque carolingienne, restitution 3D Gérard Charpentier (CNRS, MOM, Lyon) d'après les travaux de l'équipe de fouille.
Image of Fig. 4.11.
Fig. 4.11. Tombes implantées sur l'oratoire en ruine entre la deuxième moitié du  et le début du siècle (relevé et DAO équipe de fouille VSAH).
Image of Fig. 4.12.
Fig. 4.12. Emplacement des trous autour de la dalle de l'oratoire et sur les tombes ( - siècles) : lieu de dévotion ? (ph. équipe de fouilles VSAH).
Image of Fig. 4.13.
Fig. 4.13. Vue générale de la crypte et de l'édifice tardo-antique (ph. A. Baud).

References

  1. Sources
    D LlP : Die Urkunden Ludwigs des Frommen, éd. T. Kölzer, Wiesbaden, 2016 (MGH, DD Kar. 2).
  2. D Rudolf : Die Urkunden der burgundischen Rudolfinger, éd. T. Schieffer, Munich, 1977, (MGH, DD Burg.).
  3. Travaux
    Baud, Flammin & Zannettacci 2011 : Baud, A., Flammin, A., Zannettacci, M., Vienne (38), Église Saint-André-le-Haut, rapport de fouille programmée, SRA Rhône-Alpes, 2011.
  4. Baud, Flammin & Zannettacci 2014 : Baud, A., Flammin, A., Zannettacci, M., Vienne (38), Église Saint-André-le-Haut, rapport de fouille programmée, SRA Rhône-Alpes, 2014.
  5. Baud, Flammin & Zannettacci 2018 : Baud, A., Flammin, A., Zannettacci, M., Vienne (38), Église Saint-André-le-Haut, rapport de fouille programmée, SRA Rhône-Alpes, 2018.
  6. Baud, Flammin & Zannettacci 2019 : Baud, A., Flammin, A., Zannettacci, M., Vienne (38), Église Saint-André-le-Haut, rapport de fouille programmée, SRA Rhône-Alpes, 2 volumes, 2019.
  7. Baud, Nimmegeers & Flammin 2016 : Baud, A., Nimmegeers, N., Flammin, A., « L’abbaye de Saint-André-le-Haut à Vienne. Origine et développement d’un monastère de moniales », in Bulletin du centre d’études médiévales d’Auxerre-BUCEMA, Hors-série, 10, 2016, URL : http://journals.openedition.org/cem/14485;
  8. DOI : . [Crossref]
  9. Charvet 1868 : Charvet, C., Mémoires pour servir à l’histoire de l’abbaye royale de Saint-André-le-Haut de Vienne (1769), Lyon, 1868.
  10. Chatel 1981 : Chatel, É., « Sarcophages en marbre à décor gravé », in Bulletin de liaison de l’Association française d’archéologie mérovingienne, 4, 1981, p. 61-65.
  11. Duval & Lézine 1959 : Duval, N., Lézine, A., « La chapelle funéraire souterraine dite d’Asterius à Carthage », in Mélanges d’archéologie et d’histoire, 71, 1959, p. 339-357.
  12. Guyonnet et al. 2016 : Guyonnet, F., Dadure, M., Diverger, N., Donderis, P., Rava-Cordier, I., Ardagna, Y., Fouille archéologique programmée L’Isle-sur-la-Sorgue (84), Velorgues, chapelle Saint-Andéol. Rapport final d’opération dactylographié, janvier 2016.
  13. Jannet-Vallat 1995 : Jannet-Vallat, M., « Vienne. Basilique Saint-Pierre, église Saint-Georges », in Les premiers monuments chrétiens de la France, I. Sud-Est et Corse, Paris, 1995, p. 254-266.
  14. Mabillon 1709 : Mabillon, J., De re diplomatica, VI, Paris, 1709.
  15. Narasawa 2015 : Narasawa, Y., Les autels chrétiens du Sud de la Gaule : 5e-12e siècles, Turnhout, 2015 (Bibliothèque de l’Antiquité tardive, 27).
  16. Nimmegeers 2011 : Nimmegeers, N., Provincia Viennensis. Recherches sur la province ecclésiastique de Vienne et ses évêques au haut Moyen Âge (ive-xie s.), thèse de doctorat, Université Jean Moulin-Lyon 3, 2011.
  17. Nimmegeers 2023 : Nimmegeers, N., « Le monachisme féminin dans le monde rhodanien au haut Moyen Age », in Baud, A., Rauwel, A. (éd.), Espaces monastiques au féminin, Avignon, 2023, p. 78-88.
  18. Ripart 2021 : Ripart, L., Les déserts de l’Occident. Genèse des lieux monastiques dans le sud-est de la Gaule (fin ive-milieu vie siècle), Turnhout, 2021 (Collection d’études médiévales de Nice, 21).
  19. Terrier 2004 : Terrier, J., « Meinier. Les fouilles archéologiques de l’église Saints-Pierre-et-Paul », in Genava, 52, 2004, p. 215-310.

References

  1. Sources
    D LlP : Die Urkunden Ludwigs des Frommen, éd. T. Kölzer, Wiesbaden, 2016 (MGH, DD Kar. 2).
  2. D Rudolf : Die Urkunden der burgundischen Rudolfinger, éd. T. Schieffer, Munich, 1977, (MGH, DD Burg.).
  3. Travaux
    Baud, Flammin & Zannettacci 2011 : Baud, A., Flammin, A., Zannettacci, M., Vienne (38), Église Saint-André-le-Haut, rapport de fouille programmée, SRA Rhône-Alpes, 2011.
  4. Baud, Flammin & Zannettacci 2014 : Baud, A., Flammin, A., Zannettacci, M., Vienne (38), Église Saint-André-le-Haut, rapport de fouille programmée, SRA Rhône-Alpes, 2014.
  5. Baud, Flammin & Zannettacci 2018 : Baud, A., Flammin, A., Zannettacci, M., Vienne (38), Église Saint-André-le-Haut, rapport de fouille programmée, SRA Rhône-Alpes, 2018.
  6. Baud, Flammin & Zannettacci 2019 : Baud, A., Flammin, A., Zannettacci, M., Vienne (38), Église Saint-André-le-Haut, rapport de fouille programmée, SRA Rhône-Alpes, 2 volumes, 2019.
  7. Baud, Nimmegeers & Flammin 2016 : Baud, A., Nimmegeers, N., Flammin, A., « L’abbaye de Saint-André-le-Haut à Vienne. Origine et développement d’un monastère de moniales », in Bulletin du centre d’études médiévales d’Auxerre-BUCEMA, Hors-série, 10, 2016, URL : http://journals.openedition.org/cem/14485;
  8. DOI : . [Crossref]
  9. Charvet 1868 : Charvet, C., Mémoires pour servir à l’histoire de l’abbaye royale de Saint-André-le-Haut de Vienne (1769), Lyon, 1868.
  10. Chatel 1981 : Chatel, É., « Sarcophages en marbre à décor gravé », in Bulletin de liaison de l’Association française d’archéologie mérovingienne, 4, 1981, p. 61-65.
  11. Duval & Lézine 1959 : Duval, N., Lézine, A., « La chapelle funéraire souterraine dite d’Asterius à Carthage », in Mélanges d’archéologie et d’histoire, 71, 1959, p. 339-357.
  12. Guyonnet et al. 2016 : Guyonnet, F., Dadure, M., Diverger, N., Donderis, P., Rava-Cordier, I., Ardagna, Y., Fouille archéologique programmée L’Isle-sur-la-Sorgue (84), Velorgues, chapelle Saint-Andéol. Rapport final d’opération dactylographié, janvier 2016.
  13. Jannet-Vallat 1995 : Jannet-Vallat, M., « Vienne. Basilique Saint-Pierre, église Saint-Georges », in Les premiers monuments chrétiens de la France, I. Sud-Est et Corse, Paris, 1995, p. 254-266.
  14. Mabillon 1709 : Mabillon, J., De re diplomatica, VI, Paris, 1709.
  15. Narasawa 2015 : Narasawa, Y., Les autels chrétiens du Sud de la Gaule : 5e-12e siècles, Turnhout, 2015 (Bibliothèque de l’Antiquité tardive, 27).
  16. Nimmegeers 2011 : Nimmegeers, N., Provincia Viennensis. Recherches sur la province ecclésiastique de Vienne et ses évêques au haut Moyen Âge (ive-xie s.), thèse de doctorat, Université Jean Moulin-Lyon 3, 2011.
  17. Nimmegeers 2023 : Nimmegeers, N., « Le monachisme féminin dans le monde rhodanien au haut Moyen Age », in Baud, A., Rauwel, A. (éd.), Espaces monastiques au féminin, Avignon, 2023, p. 78-88.
  18. Ripart 2021 : Ripart, L., Les déserts de l’Occident. Genèse des lieux monastiques dans le sud-est de la Gaule (fin ive-milieu vie siècle), Turnhout, 2021 (Collection d’études médiévales de Nice, 21).
  19. Terrier 2004 : Terrier, J., « Meinier. Les fouilles archéologiques de l’église Saints-Pierre-et-Paul », in Genava, 52, 2004, p. 215-310.
/content/books/10.1484/M.HAMA-EB.5.144799
dcterms_title,dcterms_subject,pub_serialIdent,pub_author,pub_keyword
-contentType:Contributor -contentType:Concept -contentType:Institution
10
5
This is a required field.
Please enter a valid email address.
Approval was a Success
Invalid data
An error occurred.
Approval was partially successful, following selected items could not be processed due to error:
Please enter a valid_number test
aHR0cHM6Ly93d3cuYnJlcG9sc29ubGluZS5uZXQv